구글이 EEAT 알고리즘을 통해 어떻게 평가 하는가?
- SEO fundamentals
- 2023. 8. 1.
구글 알고리즘을 이해하지 않고 블로그를 쓴다면 좋은 결과를 얻을 수 없다.
검색엔진 최적화(SEO) 기본을 알아야 나의 글이 많은 사람에게 알려질 수 있다.
이 글을 통해, 구글이 EEAT 알고리즘을 통해 어떻게 평가하는가? 에 대해서 알아보자.
에스이오 소개
에스이오는 글 1개로 세상을 바꾸고 싶다는 신념으로 시작했습니다.
정확한 SEO 정보를 제공하고 세상을 더 긍정적으로 바꿉니다.
- Introduction to Google Seo 수료
- Google SEO fundamentals 수료
- The Fundamentals of Digital Marketing 수료
- <에스이오_검색엔진 최적화 7가지> 저자
- 현) 에스이오 대표

구글이 EEAT 알고리즘을 통해 어떻게 평가하는가?
EEAT알고리즘은 구글의 전부이다


구글은 계속해서 검색 결과 및 SERP에서 사용자 경험(UX)을 개선하기 위해
EEAT 알고리즘을 강화하고 있다.
콘텐츠의 일반적인 품질, 링크(PageRank 및 앵커 텍스트) 등 온페이지 요소는 모두 중요한 역할을 한다.
궁극적으로 EEEAT은 검색어와 독립적인 영향 요소이다.
콘텐츠 출처로서의 저자의 중요성
2009년 구글 업데이트는 콘텐츠 제작에 우선순위를 부여했다.
EEAT 기준에 따라 콘텐츠 출처 또는 작성자를 평가하는 것이 검색 결과의 품질을 더욱 발전시키는데 중요한 단계라고 인식을 하고 있다.
AI로 생성된 콘텐츠는 전형적으로 스팸이 많기 때문에 검색 색인에 노출을 안 시켜주고 있다.
색인을 생성하고 정보 검색 중에 처리해야 하는 콘텐츠가 많을수록 더 많은 컴퓨팅 성능이 필요하다.
하지만, EEAT에 기반한 콘텐츠는 크롤링하지 않고도 더 넓은 범위에서 적용된다.
예를 들어, 도메인 및 작성자 수준을 기반으로 구글 순위를 매길 수 있다.
따라서 구글 입장에서도 어느 정도 크롤링 예산을 할당해 인덱싱에서 승부를 볼 수 있는 것이다.
구글은 어떻게 작성자를 식별하고 콘텐츠에 속성으로 부여하는가?

구글은 머신 러닝 및 언어 모델을 사용하여 구조화되지 않은 콘텐츠에서 항목을 인식하고 추출한다.
일반적으로 자연어 처리의 하위 작업인 NER로 인식을 한다.
NER은 언어 패턴을 기반으로 다양하게 유형을 분류한다.
최근 시스템은 워드 임베딩(Word2 Vec)을 사용한다.
따라서 자연어 처리를 통해 문맥 및 글자 간의 관계를 결정할 수 있는 것이다.

또한 문서 임베딩을 통해 벡터를 분석하게 된다.
이 벡터는 실제로 해당 콘텐츠가 저자와 관련이 있는지 등 직접 문서를 생성한 확률을 테스트하는 것이다.
주로 저자에 대한 중요한 정보 출처는 아래와 같다.
- 기존 글 작성에 들어간 프로필.
- 소셜 미디어 프로필.
- 타 사이트 프로필.
이런 식으로 벡터를 분석하여 직접적인 관계 소스를 확인한다.
웹상의 개인 프로필은 구글이 작성자를 맥락화한다.
작성자와 관련된 소셜 미디어 프로필 및 도메인을 식별하는 데 도움이 된다.
따라서, 웬만하면 프로필 또한 일관성을 가지는 것이 중요하다.
EEAT에 따른 구글 특허
구글 특허는 다양하다.
작성자를 식별하고 콘텐츠를 할당하는 방법에 대해서 소개하고자 한다.
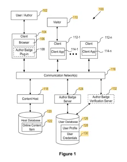
콘텐츠 작성자 배지

해당 특허는 배지를 통해 콘텐츠가 작성자에게 할당되는 방식을 설명한다.
콘텐츠는 이메일 주소 또는 작성자 이름과 같은 ID를 사용하여 작성자 배지에 할당된다.
확인은 작성자 브라우저 애드온을 통해 이뤄진다.
저자 벡터 생성

구글은 해당 특허를 2036년까지 지키기로 했다.
미국에만 특허 출원이 있어 전 세계 구글 검색에는 사용되지 않다.
벡터는 저자의 일반적인 쓰기 스타일과 단어 선택을 기반으로 식별되는 고유한 매개변수가 된다.
이러한 방식으로 이전에 저자에게 귀속되지 않은 콘텐츠를 저자에게 할당하거나 유사한 저자를 클러스팅한다.
따라서 이때 발견된 저자의 콘텐츠와 유사한 저자의 콘텐츠가 더 높은 순위를 차지하게 되는 것이다.
온라인 콘텐츠 작성자 신뢰성
2008년에 나온 특허로 신뢰와 권위 측면에서 저자를 평가하는 특허이다.
저자는 콘텐츠를 게시하는 다양한 주제의 수에 따라 여러 평판 점수를 가질 수 있다.
대표적인 신호는 아래와 같다.
- 저자의 인식
- 게시된 콘텐츠에 대한 사용자 평가. (리뷰 및 링크 등)
- 게시한 콘텐츠 양
- 마지막으로 게시한 날짜
- 중복된 내용을 자주 포스팅 하는 경우 점수 하락 발생
- 콘텐츠 주제에 대한 직업의 관련성
- 한 주제에 대해 많은 글을 발행하면 전문가이고 어느 정도 신빙성 있다고 가정
결론
구글은 점점 EEAT 알고리즘을 강화하고 있다.
따라서 콘텐츠 내 의미를 대규모로 인식하고 매핑할 수 있다.
결과적으로 콘텐츠 출처는 점점 더 중요한 역할을 하고 있다.
문서, 콘텐츠 및 도메인을 넘어 알고리즘으로 적용될 수 있다.
앞으로 몇 년 동안 구글 검색에서 EEAT의 훨씬 더 중요한 영향을 미칠 것으로 생각된다.
<참조: How Google may identify and evaluate authors through E-E-A-T>
더 알아보기
- 에스이오 홈페이지 : 검색엔진 최적화(SEO) FACT만 제공하는 콘텐츠 페이지.